23 декабря, 00:35
BMW запатентовала винты с логотипом, усложняющие самостоятельный ремонт автомобилей



Монеточка
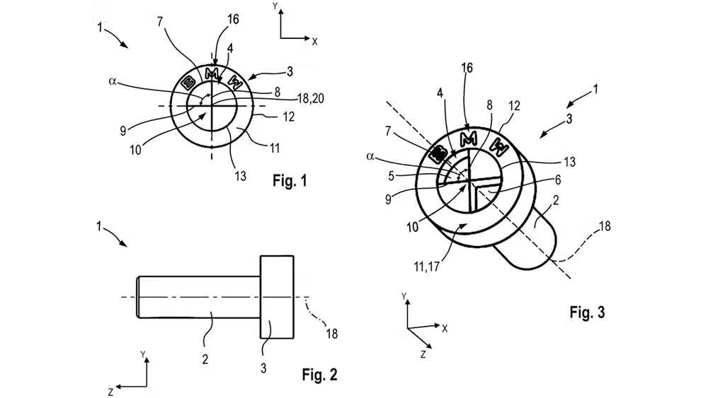
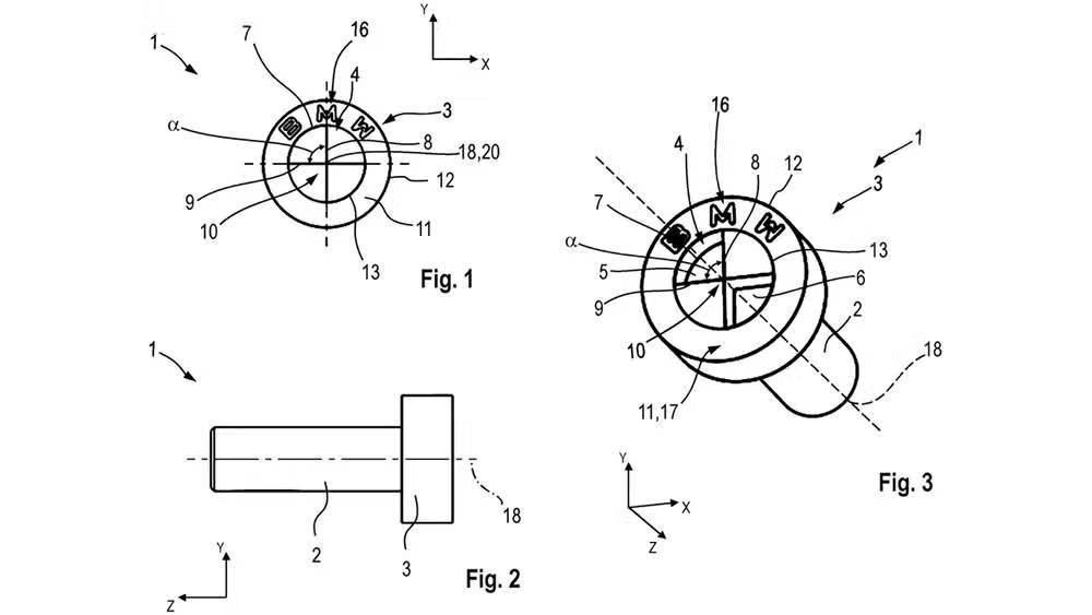
Компания BMW запатентовала круглые винты с головкой в виде логотипа которые могут быть сняты только официальными дилерами что делает самостоятельный ремонт автомобилей практически невозможным пишет CarBuzz В России это особенно затруднит обслуживание для владельцев полагающихся на сторонние сервисы Патент касается креплений в салоне и важных конструктивных местах ограничивая доступ независимых мастерских к ремонту


КБ. экономика
BMW запатентовала болты которые мешают самостоятельно починить авто Концерн представил винты которые невозможно открутить стандартными инструментами они могут сломаться и повредить всю конструкцию Теперь никакого самостоятельного ремонта только официальные сервисы


Rozetked
BMW запатентовала винты в виде логотипа компании Два квадранта из логотипа утоплены внутрь а два находятся на поверхности винта Вероятно это сделано для того чтобы осложнить самостоятельный ремонт без участия дилеров потому что в обиходе отвёрток и ключей с таким крепежом не существует Пока их не склепали умельцы из Китая конечно rozetked me news 43488


Новости Москвы / Москвир
BMW запатентовала уникальные винты с головкой в форме своего логотипа что по сути ограничивает возможность самостоятельного ремонта автомобилей этой марки Снять такие винты можно будет только в авторизованных сервисных центрах Подпишись на нас в МАХ


НЕ МОРГЕНШТЕРН
BMW отучит вас чинить машины самостоятельно Компания запатентовала специальные круглые винты с головкой в форме логотипа BMW Открутить их можно только фирменным инструментом который есть лишь у официальных дилеров Обычные ключи и отвёртки тут бессильны Самостоятельный ремонт и обслуживание в сторонних сервисах могут стать практически невозможными В России ситуация выглядит ещё болезненнее официальных дилеров немного а большинство водителей обслуживаются у своих Патент касается не декоративных мелочей а важных элементов креплений сидений деталей салона и даже соединений кузова Фактически независимым мастерским просто перекрывают доступ к ремонту лишь бы деньги грести пох нет денег на бэху НМШ


AUTONEWS
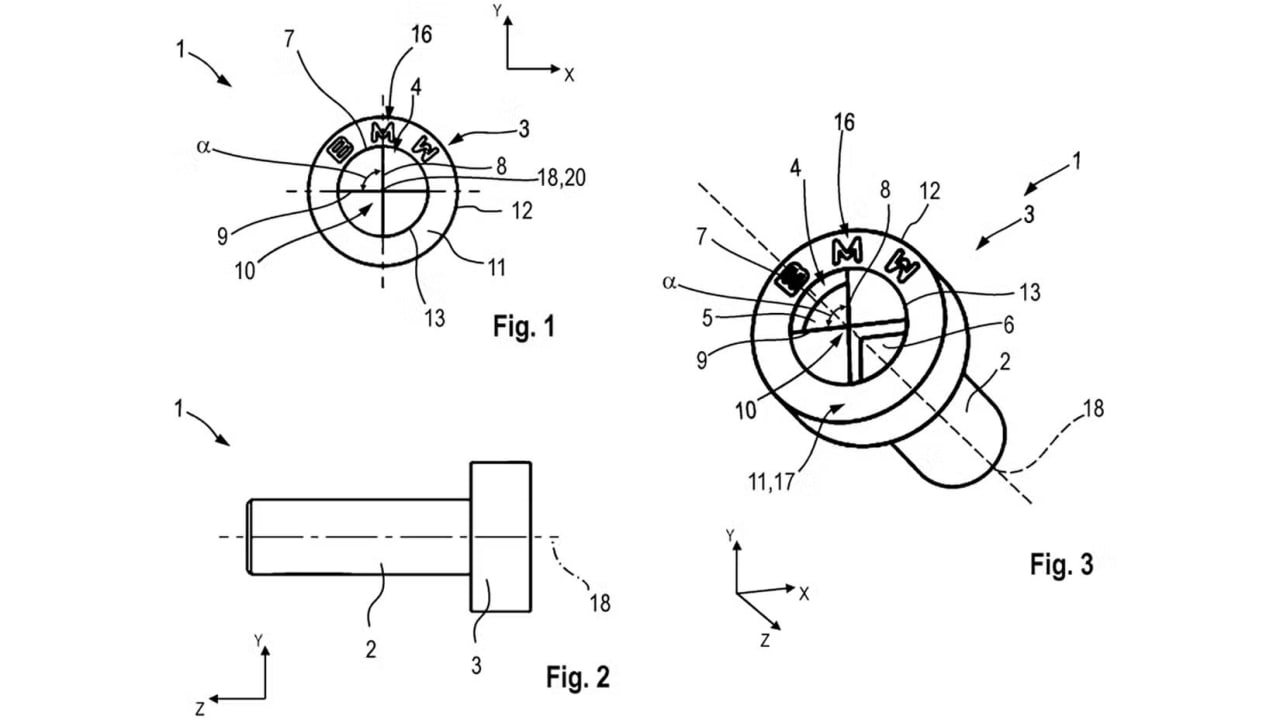
Ремонт только у официалов В BMW изобрели новые винты BMW подал заявку в патентное бюро чтобы зарегистрировать новые головки винтов выполненные в стиле своего логотипа следует из базы WIPO Всемирная организация интеллектуальной собственности Согласно заявке немецкий автопроизводитель планирует запатентовать головки винтов с вырезами в лопастях эмблемы BMW Как уточняет Autoblog эти винты предназначены для крепления конструктивных и полуконструктивных элементов например сидений или соединения салона с кузовом и способны серьезно усложнить ремонт автомобилей своими руками без специального дилерского оборудования Хотя BMW может утверждать что это отчасти связано с единообразием дизайна сам патент ясно указывает на истинную цель предотвратить ослабление или затягивание винта с помощью обычных инструментов лицами не имеющими на это права говорится в публикации
Похожие новости



+3

![Аватар Телеграм канала: TechGPT [🅽 🅴 🆆 🆂] 🤖](https://content.tek.fm/2972f683-eab7-4e0a-9c08-d11cb3f2e57d.jpg)





+1






+4



+3

АвтоВАЗ рассматривает возможность создания беспилотных автомобилей, заявляет Максим Соколов
Технологии
1 день назад


+3
В Китае стартуют продажи новых гибридных внедорожников BAIC BJ40 и BYD Fang Cheng Bao 8
Технологии
1 день назад
![Аватар Телеграм канала: TechGPT [🅽 🅴 🆆 🆂] 🤖](https://content.tek.fm/2972f683-eab7-4e0a-9c08-d11cb3f2e57d.jpg)


Общероссийское объединение пассажиров предлагает включить новые Волги в список такси
Происшествия
12 часов назад


+1
Changan анонсировала обновленный лифтбек Uni V для России с новым турбомотором
Технологии
1 день назад


В Волгограде обновляют дороги и наносят новую разметку
Общество
1 день назад


+4
В Ижевске и Краснодаре задержаны подозреваемые в поджоге автомобилей
Происшествия
1 день назад


+3